Gender specificity in the interpretation of treatment results for patients with colorectal cancer in the Republic of Tatarstan
- Authors: Gataullin B.I.1,2, Khasanov R.S.1, Savelev A.A.3, Gataullin I.G.1
-
Affiliations:
- Kazan State Medical Academy – Branch of the Russian Medical Academy of Continuous Professional Education
- Republican Clinical Oncological Dispensary
- Kazan (Volga Region) Federal University
- Issue: Vol 5, No 2 (2020)
- Pages: 124-129
- Section: Oncology and radiotherapy
- Published: 15.06.2020
- URL: https://innoscience.ru/2500-1388/article/view/43802
- DOI: https://doi.org/10.35693/2500-1388-2020-5-2-124-129
- ID: 43802
Cite item
Abstract
Aim – to identify the gender-specific features of modeling the prognosis of treatment outcomes for patients with colorectal cancer (CRC).
Materials and methods. The study included 654 patients with colorectal cancer (CRC) who were treated from 2013 to 2015, of which 434 were men, 220 were women. The average age of the patients was 64.1±10.2 years. All patients underwent genetic analysis for the presence of a mutation in the KRAS gene from the primary tumor.
Results. The gender approach to assessing the long-term results of treatment of patients with CRC showed that in men with colorectal cancer, the most favorable treatment results were observed in patients with tumors in stage T 1-2 N0 M0, regardless of the differentiation of the tumor and its mutational status. In men, poorly differentiated tumors with any T, with the presence of regional metastases and a mutation of the KRAS gene, even in the absence of distant metastases, should be considered prognostically unfavorable: not a single patient lived for 5 years. In women, based on the decision tree analysis, the most favorable treatment results were observed in patients with tumors in the stage T 1-2-3 N0 M0 under the age of 70 years (five-year survival rate of 90%), with tumors T 1-2 N0 M0 – over the age of 70 years (five-year survival of 81.8%), regardless of the differentiation of the tumor and its mutational status. Tumors of any differentiation of the T3-4 N0 stage with the presence of distant metastases (5% of patients lived for 5 years) and poorly differentiated T4N0M0 tumors (five-year survival of 8%) are prognostically unfavorable for women.
Conclusion. The study of gender and age-related features of the development and course of CRC is relevant for oncologists to select effective diagnostic, therapeutic and rehabilitation measures.
Full Text
INTRODUCTION
In the analysis of new cases and deaths from 36 types of cancer in 2018, it was found that 1,096,601 new cases with 551,269 deaths from colon cancer and 704,376 new cases and 310,394 deaths from rectal cancer were registered in the Global Cancer Statistics 2018 [1]. In general, colorectal cancer (CRC) ranks third in morbidity and second in mortality worldwide.
Colon and rectal cancer’s crude marker of incidence rate in Russia in 2018 were 27.52 and 22.91 cases per 100 thousand of the population for men and 31.15 and 19.52 cases for women, respectively. CRC has consistently remained among the most common malignant tumors over the past years, ranking fifth and sixth in men and fourth and seventh in women in the structure of oncological incidence of colon and rectal cancer, respectively. It continues to be diagnosed at stage IV of the disease (27.2% with colon cancer and 22.5% with rectal cancer) in significant number of cases [2].
The epidemiology of malignant neoplasms reveals a higher risk of morbidity generally in men compared with women, based on all localizations, which is directly related to biological and social gender differences.
The effect of gender on overall survival rate (OSR) and cancer-specific SR (CSSR) in patients with colorectal cancer was determined by performing a meta-analysis, which showed that OSR and CSSR were significantly higher in women. Research results suggest that in survival outcomes among patients with colorectal cancer, the female gender appears to be a significant factor [3].
Continuous research in the fundamental oncology field, the emergence of gender-based approaches to diagnosis and treatment of patients with colorectal cancer, and the experience of managing such patients determine the identification of new prognostic factors in patients of different genders, even within the same stage of the disease.
AIM
This work aims to develop an individual model for predicting treatment results of CRC patients, depending on the patients’ gender.
MATERIAL AND METHODS
Results on this work are based on clinical examination and treatment analysis of 654 CRC patients, which included 434 men and 220 women, treated at the clinical oncological dispensary of the Ministry of Health of the Republic of Tatarstan from 2013 to 2015. Information was sourced from data of case histories, surgical intervention protocols, and histological and molecular studies results. All patients underwent a diagnostic program in accordance with the clinical guidelines for rectal and colon cancer.
Patients were distributed in 3 age groups, 50 years old and below, 51–70 years old, and 70 years old and above, to analyze the prognostic effect of patients’ gender and age on long-term treatment; and to determine the age-related morphological and molecular characteristics of CRC. The distribution of patients by age and gender is presented in Table 1.
Таблица 1. Половозрастная структура выборочной совокупности пациентов
Table 1. Sex and age structure of a sample of patients
Gender | Under 50 years of age | From 51 to 70 years of age | Over 70 years of age | Total | |||
Patients | % to the total number | Patients | % to the total number | Patients | % to the total number | Patients | |
Men | 56 | 12.9 | 266 | 61.3 | 112 | 25.8 | 434 |
Women | 37 | 16.8 | 120 | 54.5 | 63 | 28.6 | 220 |
Total | 93 | 14.2 | 386 | 59.0 | 175 | 26.8 | 654 |
The proportion of men was significantly higher than that of women in the 51–70 age group, whereas women predominated in the age group of under 50 years.
By nationality, more than half of the male patients were Russians (51.8%), 43.1% were Tatars, and 5.1% were of other nationalities. Among women, 53.6% were Russians, 38.6% were Tatars, and 7.7% were of other nationalities.
Data on the CRC location were reported in all 654 cases. In men, the tumor localized to a greater extent in the rectum (45%) and colon (32%). In terms of localization, the rectosigmoid region and sigmoid colon ranked third (23%). In women, the tumor was equally often located in the rectum and rectosigmoid region with the sigmoid colon (36% each); 28% of the cases registered localized in the colon.
The international TNM classification published by the Union for International Cancer Control in 2017 (Eighth Edition) was used as basis for this study. Patients with tumors within the intestinal mucosa and submucous membrane (T1) are the smallest group, with only 2.7% registered cases in men and women. Among patients with T2 tumors, women prevailed with 33.2% of cases, whereas only 27.6% of cases were detected in men. T3 stage tumors were more often noted in men (49.1%) than in women (44.1%). T4 tumors were diagnosed in patients approximately equally, with 18.7% of cases in men and 18.6% in women.
The presence or absence of regional metastases is of great importance for patients in terms of prognosis. Lymph nodes were affected by metastases in 202 (46.5%) cases in men and 107 cases (48.6%) in women. Morphologically, various grades of differentiated adenocarcinoma were determined in all cases. Low-grade differentiated adenocarcinoma was noted in 13.6% cases in men and 14.1% in women; moderately differentiated adenocarcinoma was registered in 50.5% cases in men and 54.1% in women; and high-grade adenocarcinoma was detected in 21.4% cases in men and 19.5% in women.
Tumor tissue samples obtained in surgery from a primary tumor were used as material for genetic analysis for the presence of a mutation in the K-ras gene. LightCycler® 480 II real-time polymerase chain reaction analyzer (Roche, Germany) and a gene scanning program version 1.5 (Roche Diagnostics, Germany) were used to perform high-resolution melting of codons 12 and 13 of exon 2 to analyze the presence of K-ras mutations.
The Microsoft Excel package of update 2 for Office XP and Statistica (StatSoft) version 6.0 was used to perform statistical data processing. The Student’s t-test was used for the comparative analysis of the obtained data; and in case of noncompliance with its conditions, the Mann–Whitney test was used.
To predict the disease’s long-term outcomes, the decision tree construction method was used. This is considered one of the most effective methods and is used to solve classification problems arising in a wide variety of fields. In medicine, among the problems successfully solved using this method is in diagnostics, which is necessary in diagnosing or drawing conclusions about the process dynamics based on a set of factor values (symptoms and test results). A decision tree is a schematic representation of a decision-making problem. Its branches represent various events (decisions) and its vertices are key states where a necessity to make choices arise. Most often, the decision tree is downstream; that is, it is built from top to bottom [4].
RESULTS
A gender approach was used to assess patients based on the criteria of patient age, tumor localization, tumor’s morphological variant and its differentiation grade, intestinal wall lesions’ depth, presence or absence of metastases in the regional lymph nodes, and presence of distant metastases.
Based on the Kaplan–Meier method results, the examined patients’ overall 5-year survival rate amounted to 54.3%. No significant differences were found in CRC patients’ 5-year survival rate depending on gender, which was 54.9% for men and 52.7% for women. Differences in the results among groups were statistically insignificant (p > 0.05).
Nevertheless, gender differences in the long-term treatment results of patients with CRC were established. The 5-year survival rate for men and women were almost equal (54.9% and 52.7%); this indicator correlates with the patient’s age. Survival rate is 22% higher in women than that of men for patients under the age of 50; it is equal for both genders for patients between 51 and 69; and 14% lower in women than in men for patients over 70 years old.
The next stage of the study focuses on the analysis of mutation frequency of K-ras gene in the tumor tissue of CRC patients and its relationship with the clinical and pathological characteristics of the tumor. K-ras gene mutation frequency in CRC patients of the Republic of Tatarstan was 36.2%. This is somewhat less than that in Russia, which is probably because of its population’s pronounced ethnic heterogeneity. Our studies have shown that mutation frequency in the K-ras gene was more frequent in women (37.7%) than in men (20.3%).
Age-related characteristics of the K-ras gene status were investigated. K-ras gene mutation was registered in 58.3% in patients at the age of up to 50 years and 56.8% at the age from 51 to 69 years. In the older age group, gene mutation was noted only in 9.9% of cases.
The survival rate of CRC patients with case stratification, where the target group was segregated according to patient’s gender, was analyzed. A regression analysis was also performed according to Cox’s (1972) analysis of proportional risks, which is a generally accepted method in medical statistics. This analysis evaluates the risk of an event (in this case, the patient’s death) depending on the given factors and determines the strength of this relationship (risk ratio).
In our study, the indicators of the dependence of the results of 5-year survival rate on a number of clinical and morphological criteria (gender, age, tumor location, morphological variant, degree of invasion of the intestinal wall, presence or absence of metastases in regional lymph nodes and distant organs, stage of the disease), as well as the presence or absence of a mutation in the K-ras gene were evaluated. According to the classification, the strength of the correlation depending on the correlation coefficient r (accepted conventionally); the parameters’ prognostic significance under this study is distributed as shown in Table 2.
Таблица 2. Результаты корреляционного анализа факторов, влияющих на 5-летнюю выживаемость
Table 2. The results of the correlation analysis of factors affecting 5-year survival
Strong correlation r≥ 0.75 | Moderate correlation 0.25≤r≤ 0.75 | Weak correlation r≤ 0.25 | |||
Criterion | r | Criterion | r | Criterion | r |
Stage | 0.762 | Indicator М Indicator N Indicator Т Age K-ras gene mutation Tumor differentiation grade (G) | 0.672 0.575 0.547 0.522 0.485 0.439 | Localization of the tumor Age | 0.221 0.207 |
Note. ffМ = 0 - distant metastases are absent. fМ = 1- presence of distant metastases. fN = 0 - regional metastases are absent. fN = 1-the presence of regional metastases. fG = 1-low-grade differentiated adenocarcinoma. fG = 2-moderately differentiated adenocarcinoma. fG = 3 - high-grade differentiated adenocarcinoma. fТ = 1, fТ = 2, fТ = 3, fТ = 4 - the degree of tumor penetration into the intestinal wall. fMutStatus = 1- K-ras gene mutation, fMutStatus = 2 -“wild” type of K-ras gene. fAge = 1- patients’ age up to 50 years, fAge = 2-50 to 69 years of age, fAge = 3 - over 70 years of age.
In the light of their prognostic value, a strong (r ≥ 0.75) and moderate (0.25 ≤ r ≤ 0.75) correlation in 7 parameters, with the 5-year survival results, was revealed. These include the stage of the disease; T, N, and M indicators; K-ras gene status; tumor differentiation grade; and the patient’s age.
The relationship between long-term results and tumor localization and the patient’s gender approaches statistically significant one (weak correlation r ≤ 0.25). A decision tree was constructed using regression analysis, which enables assigning the object under study to one of several groups based on measuring a certain number of features in it.
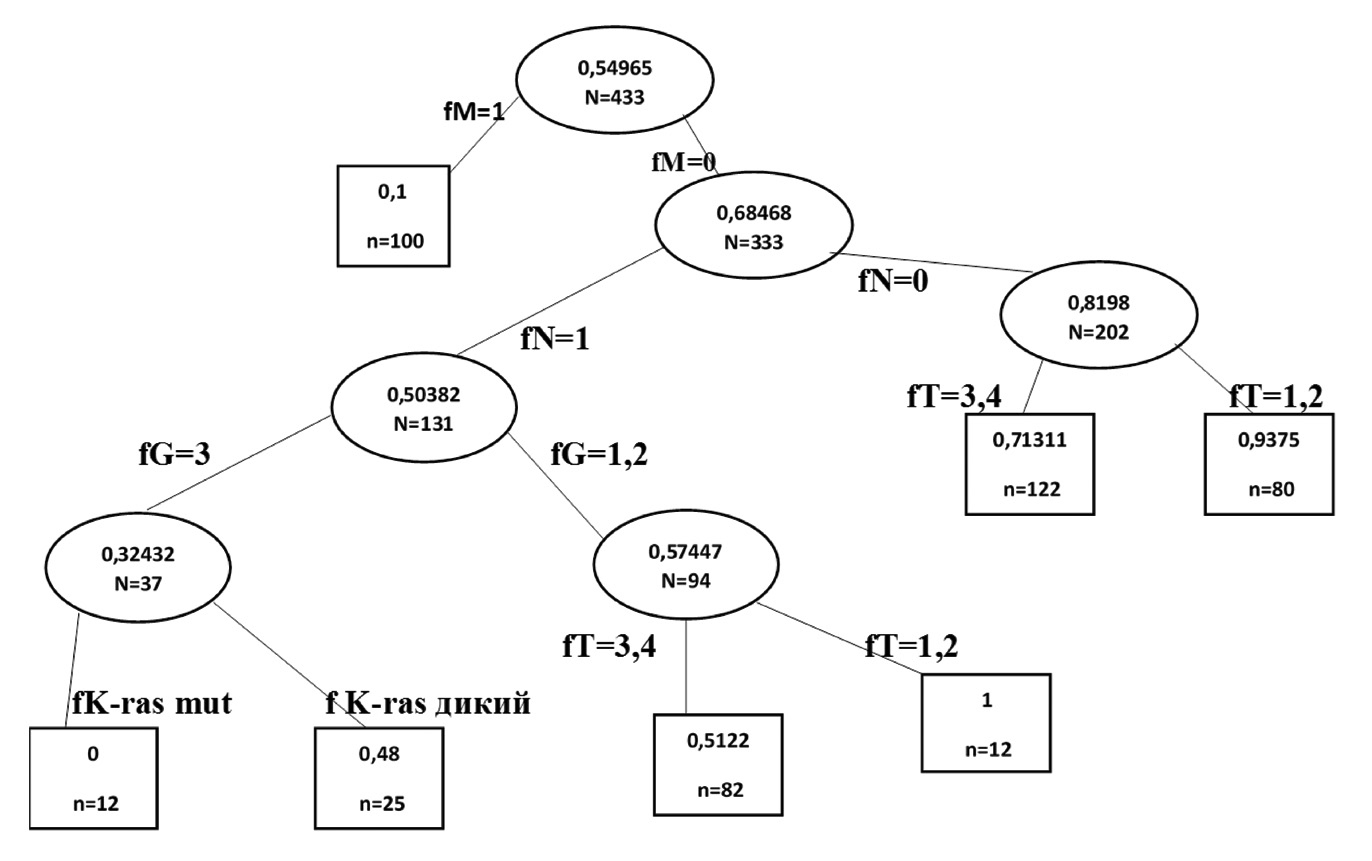
Taking into account the influence of other features, the decision tree method is used in data analysis and statistics mainly to use the information in predicting a quantitative feature. The models are plotted separately for males and females as illustrated in Figure 1.
Рисунок 1. Экспертная система на основе дерева решений для прогноза выживания более 5 лет (мужчины).
Figure 1. Expert system based on a decision tree for predicting survival for more
than 5 years (men).
Note. fМ = 0 - distant metastases are absent. fМ = 1 - presence of distant metastases. fN = 0 - regional metastases are absent. fN = 1 - the presence of regional metastases. fG = 1 - low-grade differentiated adenocarcinoma. fG = 2 - moderately differentiated adenocarcinoma. fG = 3 - high-grade differentiated adenocarcinoma. fТ = 1, fТ = 2, fТ = 3, fТ = 4 - the degree of tumor penetration into the intestinal wall. fMutStatus = 1 - K-ras gene mutation, fMutStatus = 2 - “wild” type of K-ras gene. fAge = 1 - patients’ age up to 50 years, fAge = 2 - 50 to 69 years of age, fAge = 3 - over 70 years of age.
Figure 1 shows that long-term results of 433 male CRC patients at the top of the tree were studied. The left branch implies the presence of distant metastases (M+), which includes 100 patients. They have a 10% chance of living of 5 years. This prognosis cannot be improved using other variables (terminal top). The right branch implies the absence of distant metastases (M0), which includes 333 patients with a 5-year survival rate of 68.4%.
The left branch (N+) outgoing from this apex consists of 131 patients with a 5-year survival rate probability of 50.3%. The right branch (N0) consists of 202 patients with an 80.2% probability of 5-year survival. This branch can be stratified by tumor stage (T) into 2 groups: group 1 (T 1-2) includes 80 patients with a 5-year survival rate of 93.7%; and group 2 (T 3-4) consists of 122 patients with a 5-year survival rate of 71.3%.
Continuing the analysis of the left branch (N+) and taking it by the apex, we can divide it into two branches. Branch 1 indicates low-grade and moderately differentiated tumors (G 1-2) and includes 94 patients with a 5-year survival rate of 57.4%. Branch 2 indicates high-grade and undifferentiated tumors (G 3-4) and includes 37 patients with a 5-year survival rate of 32.4%.
Depending on the status of the K-ras gene, high-grade and undifferentiated tumors can also be stratified into two branches. In 48% of the cases, carriers of the wild type of the gene (25 patients) survived for 5 years or more. Not a single patient (12 patients) lived for 5 years in the presence of a mutant gene type.
Thus, regardless of the differentiation of the tumor and its mutational status, the most favorable treatment results in male CRC patients were noted in those with tumors at stage T 1-2 N0 M0.
High-grade differentiated tumors should be considered as prognostically unfavorable in male patients with any T, with the presence of regional metastases, the absence of distant metastases and a mutation of the K-ras gene, as no patient lived for 5 years. In this case, wild type gene carriers lived for 5 years or more in 48% of the cases. Moreover, the 5-year survival rate was 10% even in the presence of distant metastases.
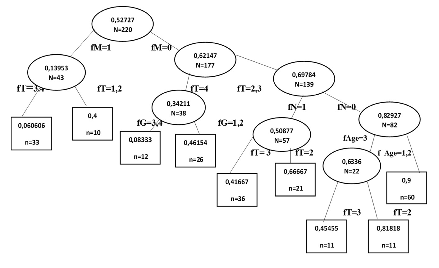
Figure 2 shows a decision tree-based expert system for predicting the survival of women over 5 years.
Рисунок 2. Экспертная система на основе дерева решений для прогноза выживания женщин более 5 лет.
Figure 2. Expert system based on a decision tree for predicting the survival of women over 5 years
As seen in Figure 2, long-term results of a total of 220 women with CRC were studied, with a 5-year survival rate of 52.7%. The presence of distant metastases (M+) is indicated in the left branch, which includes 43 patients. Their probability of living for 5 years is 13.9%. This branch can be stratified by tumor stage (T) into 2 groups: group 1 (T 1-2) includes 10 patients with a 5-year survival rate of 40%; and group 2 (T 3-4), which includes 33 patients, has a 5-year survival rate of 6%.
The right branch indicates the absence of distant metastases (M0) is indicated in the right branch, which includes 177 patients, with a 62.1% 5-year survival rate. This branch can be stratified by tumor stage (T) into 2 groups: T 1-2-3 includes 139 patients with a 69.7% 5-year survival rate, and T 4 includes 38 patients with a 34.2% 5-year survival rate.
The group of patients with stage T4 tumors can also be divided into 2 branches: those with low-grade and moderately differentiated tumors (G 1-2) include 26 patients with a 46.1% 5-year survival rate; and the branch with high-grade and undifferentiated tumors (G 3-4) includes 12 patients with an of 8.1% 5-year survival rate.
The patient group with tumor stage T 1-2-3 N0 M0 (139 patients) can be stratified into 2 branches, namely N0 with 82 patients and a 5-year survival rate of 82.1%; and N+ with 57 patients and a 5-year survival rate of 50.8%.
Patients with regional metastases can be subjected to terminal stratification by stage T. T 1-2 includes 21 patients with a 66.6% 5-year survival rate and T 3 includes 36 patients with a 41.6% 5-year survival rate.
Patients with no regional metastases (82 patients) can be divided into 2 groups by age. Group 1 (up to 50 years old) and the group 2 (aged 51 to 70 years old) include 60 patients with a 90% 5-year survival rate; and group 3 (over 70 years old) includes 22 patients with a 63.6% 5-year survival rate of 63.6%.
Age group 3 patients can be stratified terminally by tumor stage (T). Therefore, T 2 includes 11 patients with an 81.8% 5-year survival rate and T 3 includes 11 patients with a 45.4% 5-year survival rate.
Therefore, in a decision tree analysis for predicting survival over 5 years in women, the most favorable treatment results, regardless of the differentiation of the tumor and its mutational status, were registered in patients aged up to 70 years with tumors at stage T 1-2-3 N0 M0, and in patients over 70 years with tumors T 1-2 N0 M0 (81.8%).
In women, tumors of any differentiation T 3-4 N0 M+ are prognostically unfavorable (6% of patients lived for 5 years), whereas 40% of patients lived with tumors at stage T 2-3 N0 M+ stage for 5 years or longer. Also, an unfavorable prognosis was noted in women with high-grade differentiated tumors T4N0 M0 (5-year survival rate of 8%).
DISCUSSION
CRC was not considered as a gender-stratified tumor for a long time. However, there are gender differences in the incidence because men are more susceptible to this pathology.
A number of conclusions can be drawn based on our experience of a gender approach in the analysis of CRC incidence, as well as clinical and morphological aspects of the pathology and disease outcomes. This is, first of all, the presence of regional, characteristic for the Republic of Tatarstan, aspects of the K-ras gene mutation, as the frequency of mutations in tumors was less common in men (20.3%) than in women (37.7%). Mutation frequency in tumors of both genders was 36.2%, which was somewhat different from the results from a number of studies. According to Smagulova, Kaidarova, and Chichua et al. (2019), among 332 CRC patients enrolled in the study in the Republic of Kazakhstan, K-ras gene mutations were detected in 149 (44.9 ± 4.0%) patients; and in 183 (55.1 ± 3.6% ) patients, were of the wild type [5]. K-ras gene mutation frequency in CRC patients in Southern Russia was closer to the data for Tatarstan, which amounted to 38.7%. A study performed at the Rostov Research Oncological Institute of the Ministry of Health of the Russian Federation indicated a statistically significant higher K-ras gene mutation frequency in women with CRC compared with men [6].
The regional aspects of K-ras gene mutations revealed that it more likely to expect mutations in Russian women under the age of 70 years. Mutation of the K-ras gene in a tumor does not affect long-term treatment results in women, but at the same time aggravates significantly the prognosis in men with regional metastases. Not a single patient lived for more than 5 years in this group of patients. This information will help oncologists plan adequate adjuvant therapy and postoperative clinical examination on patients.
Currently, studies on the prognostic role of patients’ gender and age in relation to the survival of patients with CRC are actively conducted. A number of studies revealed that the effect of gender in malignant diseases on a worse prognosis in men than in women [7]. This was confirmed by our research, which showed that at the age of 50 years (before menopause), women’s survival rate is 22% higher than that of men. At the age of 51–69, it is equal for both genders, and in the group over 70, it is 14% lower for women than for men. Most likely, this is because of the protective effect of endogenous estrogens, since the K-ras and BRAF genes that regulate adhesion, proliferation, apoptosis, etc. belong to this signaling pathway [8]. Female steroid hormones are considered a protective factor because their high level, early age at first pregnancy, the use of oral contraceptives and hormone replacement therapy with estrogens are associated with a decrease in the risk of CRC [9, 10, 11].
CONCLUSION
The materials presented enable to make an assumption about the prognostic role of gender in relation to the survival rate of CRC patients. The search for new approaches to diagnostics and treatment of CRC patients are determined by the identification of new prognostic factors within the framework of even the same stage of the disease in patients of different gender, as well as the experience of follow-up.
Considering the best long-term treatment results in premenopausal women, we can assume the efficiency of hormone replacement therapy in women who received radical treatment for CRC in postmenopausal period with careful follow-up. However, this issue requires further study.
Thus, taking into account gender differences in treatment outcomes even for the same stages of colorectal cancer, gender strategies can be developed for treatment and prevention protocols to reduce mortality and improve patients’ quality of life.
Conflict of interest. The authors declare no conflict of interest.
About the authors
Bulat I. Gataullin
Kazan State Medical Academy – Branch of the Russian Medical Academy of Continuous Professional Education; Republican Clinical Oncological Dispensary
Author for correspondence.
Email: bulatg@list.ru
ORCID iD: 0000-0003-1695-168X
assistant of the Department of Oncology, Radiology and Palliative Care, oncologist
Russian Federation, KazanRustem Sh. Khasanov
Kazan State Medical Academy – Branch of the Russian Medical Academy of Continuous Professional Education
Email: bulatg@list.ru
SPIN-code: 9198-5889
Scopus Author ID: 583867
PhD, Professor, Corresponding Member RAS, Head of the Department of Oncology, Radiology and Palliative Care
Russian Federation, KazanAnatolii A. Savelev
Kazan (Volga Region) Federal University
Email: bulatg@list.ru
ORCID iD: 0000-0002-6270-7744
Cand. Sc. Physics and Mathematics, D.Sc. Biology, Professor, Department of Environmental systems modeling of the Institute of Ecology and Natural Resources Management
Russian Federation, KazanIlgiz G. Gataullin
Kazan State Medical Academy – Branch of the Russian Medical Academy of Continuous Professional Education
Email: bulatg@list.ru
ORCID iD: 0000-0001-5115-6388
PhD, Professor of the Department of Oncology, Radiology and Palliative Care
Russian Federation, KazanReferences
- Global Cancer Statistics 2018: GLOBOCAN Estimates of Incidence and Mortality Worldwide for 36 Cancers in 185 Countries. (In Russ.). [Cтатистика по раку за 2018 г. ГЛОБОКАН. Оценки заболеваемости и смертности во всем мире по 36 видам рака в 185 странах]. doi: 10.33 22/caac.21492
- Kaprin AD. State of cancer care for the population of Russia in 2018. Russian center for information technologies and epidemiological research in oncology. (In Russ.). [Каприн А.Д. Состояние онкологической помощи населению России в 2018 году. Российский центр информационных технологий и эпидемиологических исследований в области онкологии].
- Kim SE, Paik HY, Yoon H, et al. Sex- and gender-specific disparities in colorectal cancer risk. World J Gastroenterol. 2015:21(17):5167–75. doi: 10.3748/wjg.v21. i17.5167
- Zharkova OS, Sharopin KA, Seidova AS, et al. Building decision support systems in medicine based on a decision tree. Modern science-intensive technologies. 2016;6–1:33–37. (In Russ.). [Жаркова О.С., Шаропин К.А., Сеидова А.С. и др. Построение систем поддержки принятия решений в медицине на основе дерева решений. Современные наукоемкие технологии. 2016;6–1:33–37]. doi: 10.17513/snt.37918
- Smagulova KK, Kaidarova DR, Chichua NA, Ishkinin EI. Study of the frequency and spectrum of KRAS gene mutations in patients with colorectal cancer (CRR) depending on the prevalence of the process. Electronic journal "Modern problems of science and education". 2019;3. (In Russ.). [Смагулова К.К., Кайдарова Д.Р., Чичуа Н.А., Ишкинин Е.И. Изучение частоты и спектра мутаций гена KRAS у больных колоректальным раком (КРР) в зависимости от распространенности процесса. Электронный журнал «Современные проблемы науки и образования». 2019;3. doi: 10.17513/spno.28909
- Vodolazhsky DI, Antonets AV, Dvadnenko KV, et al. Association of KRAS gene mutations with clinical and pathological features of colorectal cancer in patients of the South of Russia. Medical journal of international education. 2014;1:65–68. (In Russ.). [Водолажский Д.И., Антонец А.В., Двадненко К.В. и др. Связь мутаций гена KRAS с клинико-патологическими особенностями колоректального рака у пациентов юга России. Медицинский журнал международного образования. 2014;1:65–68]. doi: 10.1200/jco.2015.33.15_suppl.e18534
- Samowitz WS, Curtin K, Schaffer D, et al. Relationship of Ki-ras mutations in colon cancers to tumor location, stage, and survival: a population-based study. Cancer Epidemiol Biomarkers Prev. 2000;9:1193–1197. doi: 10.1002/gcc.10125
- Selcukbiricik F, Erdamar S, Ozkurt CU, et al. The role of K-RAS and B-RAF mutations as biomarkers in metastatic colorectal cancer. J BUON. 2013;18:116–123. doi: 10.1007/s13277-013-0763-6
- Eli M, Mollayup A, Muattar J, Liu C, et al. K-ras genetic mutation and influencing factor analysis for Han and Uygur nationality colorectal cancer patients. Int J Clin Exp Med. 2015;8(6):10168–77. doi: 10.1097/md.0000000000010234
- Ferlay J, Soerjomataram I, Dikshit R, et al. Cancer incidence and mortality worldwide: sources, methods and major patterns in GLOBOCAN 2012. Int J Cancer. 2015;136:359–86. doi: 10.1002/ijc.29210
- Barzi A, Lenz AM, Labonte MJ, Lenz HJ. Molecular pathways: estrogen pathway in colorectal cancer. Clin Cancer Res. 2013;19:5842–5848. doi: 10.1158/1078-0432.ccr-13-0325
Supplementary files





